找回密码
 立即注册
澳门威尼斯人
U8
U18
海燕招商
A
蓝盾
e世博
islot.
申博亚洲
B
开云
腾博会
德信
C级广告商
吉祥坊
米兰
华体会
查看: 100711|回复: 58

[彩票] 【实战有奖】今天在申博7V玩彩票也是输了水钱

[复制链接]

1178

主题

3万

回帖

8149

金币

钻石用户

积分
102603

老会员交易勋章光影行者

发表于 2025-5-22 21:37 | 显示全部楼层 |阅读模式

马上注册,结交更多好友,享用更多功能,让你轻松玩转社区。

您需要 登录 才可以下载或查看,没有账号?立即注册

×
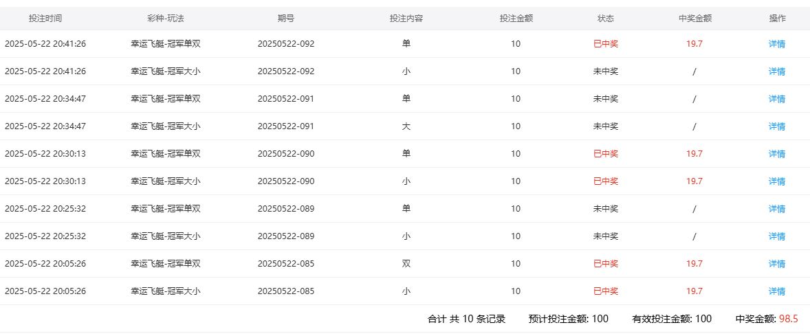
     今天到了申博去玩了彩票了啊。运气还是很不错的啊。最后的结果也是没有苏了啊。虽然亏了1块多,但是还是感觉好的啊。只是输了水钱罢了啊。只要胜率不低于50,应该说都是可以接受的啊,即便低了,损失不大也是要接受了啊。- I9 b7 P/ h2 I1 y5 h3 ]% P
      今天去了幸运飞艇这个游戏了啊。第一期我是投注了小和双的啊,结果是两红了啊。实在是比较爽了 啊。一下子就赢了20了啊。实在是美滋滋的啊。心情都一下子愉快起来啊。第二期呢,我打了小和单了啊。从时间上看隔了几期了啊。那是因为当时有事,就走开了啊。过了20分钟,我才又回来继续玩了啊。. h2 f; ^6 \& _
      第二期,我是没有中奖的啊。遇到了2黑了 了。两个方向都没有猜对。实在遗憾了的。这样两期下来,我是一点好处都没有得到了。我的盈利就没有了。
/ B( f! B5 \) q% H  C1 o& N     第3期,我买了小和单了啊。结果也是比较幸运的啊,两个都中了啊。一下子我就又赢了20了啊。也是非常的开心的啊。只要是可以赢,都是满意的啊。
/ V* I6 q- _3 ~* p     第4期,我看了一下路子,买了大和单了。结果开出来,我没有看准了啊。2黑了啊。一下子就又输了回去了啊。4期下来,我是一点好处都没有得到,甜头是根本没有了啊。实在是遗憾的啊。
  M# }3 u2 T7 s3 A    第5期了。我又去买了小和单,结果呢,出了大和单了啊。我的投注还是一红一黑了啊。这样子,我5期下来,就取得了一个打成平手的结果了。只是亏 一点水钱而已,输了一瓶矿泉水而已了。应该说还是比较幸运的啊。所以,没有什么不满了 。我就撤退了啊。
5 w/ x* J. F' P& w8 I& m 11.JPG 22.JPG 7 K; f- V, S1 H. }
' l) J$ e7 i5 k8 J6 i1 e5 g+ x
$ W3 o6 w8 x  p7 q

; k, @9 n7 i" e! V5 r
8 V2 N8 g0 J5 }' ]; V4 D  m( d5 z4 L
回复

使用道具 举报

102

主题

6075

回帖

2141

金币

银牌会员

积分
18947

老会员

发表于 2025-5-22 21:43 | 显示全部楼层
楼主的成绩不理想早一点止损是正确的,亏损一点可以不记
回复 支持 反对

使用道具 举报

16

主题

1649

回帖

1944

金币

铜牌用户

积分
7654

老会员

发表于 2025-5-22 22:26 | 显示全部楼层
一瓶矿泉水的代价玩了五期,体验拉满了,起起伏伏才是生活的调味剂啊!
回复 支持 反对

使用道具 举报

574

主题

8031

回帖

4170

金币

金牌会员

积分
23766

老会员交易勋章

发表于 2025-5-22 22:36 | 显示全部楼层
你的持之以恒让我感动,很感人,还是祝你下一波能盈利吧,坚持玩彩票不容易
回复 支持 反对

使用道具 举报

141

主题

1万

回帖

1919

金币

千足金牌会员

积分
40859

老会员

发表于 2025-5-22 23:28 | 显示全部楼层
楼主的彩票玩的算不错的,运气不佳的情况下,只有亏损水钱。
回复 支持 反对

使用道具 举报

278

主题

1万

回帖

4071

金币

金牌会员

积分
33402

老会员光影行者

发表于 2025-5-23 05:24 | 显示全部楼层
如果总是在输钱,就不要玩了,希望以后都能够有个好的结果了。
回复 支持 反对

使用道具 举报

1178

主题

3万

回帖

8149

金币

钻石用户

积分
102603

老会员交易勋章光影行者

 楼主| 发表于 2025-5-23 05:40 | 显示全部楼层
易天一人 发表于 2025-5-22 21:43/ q- C% F6 J$ X' }) ?- ^1 N
楼主的成绩不理想早一点止损是正确的,亏损一点可以不记
; ~% H9 K; r, Y& j; s( m# x# X
的确是如此的了,损失不大的话都没什么关系的了,还是要加油的
回复 支持 反对

使用道具 举报

1178

主题

3万

回帖

8149

金币

钻石用户

积分
102603

老会员交易勋章光影行者

 楼主| 发表于 2025-5-23 05:40 | 显示全部楼层
没牙的兔子 发表于 2025-5-23 05:24
, S4 ?( h) G6 i# H; v8 X4 E% m7 E如果总是在输钱,就不要玩了,希望以后都能够有个好的结果了。
3 s! f% P8 z  P9 b4 w
不可能总是在说的,我们还是要努力的把失去的拿回来了
回复 支持 反对

使用道具 举报

1178

主题

3万

回帖

8149

金币

钻石用户

积分
102603

老会员交易勋章光影行者

 楼主| 发表于 2025-5-23 05:40 | 显示全部楼层
展现出 发表于 2025-5-22 22:36/ K% \% a& A8 ?7 U( K1 m% z
你的持之以恒让我感动,很感人,还是祝你下一波能盈利吧,坚持玩彩票不容易 ...

, L$ b0 h8 M  q! i持之以恒也是有必要的啦,我们一定要好好的努力加油的啦
回复 支持 反对

使用道具 举报

1396

主题

7万

回帖

1379

金币

钻石用户

积分
188898

万时之王老会员精华勋章勤奋勋章交易勋章光影行者

发表于 2025-5-23 06:07 | 显示全部楼层
小输一点水钱是可以忽略不计的,相信楼主下一次是可以盈利的
回复 支持 反对

使用道具 举报

1396

主题

7万

回帖

1379

金币

钻石用户

积分
188898

万时之王老会员精华勋章勤奋勋章交易勋章光影行者

发表于 2025-5-23 06:07 | 显示全部楼层
hy188820 发表于 2025-5-22 23:284 D4 o* N. t, H$ o& q
楼主的彩票玩的算不错的,运气不佳的情况下,只有亏损水钱。

5 f3 z$ c2 ?, ^5 Y楼主是个玩彩票的高手,这一次小输一点没有什么影响的
回复 支持 反对

使用道具 举报

1396

主题

7万

回帖

1379

金币

钻石用户

积分
188898

万时之王老会员精华勋章勤奋勋章交易勋章光影行者

发表于 2025-5-23 06:08 | 显示全部楼层
没牙的兔子 发表于 2025-5-23 05:24$ M% `' |( _3 ]8 V- x
如果总是在输钱,就不要玩了,希望以后都能够有个好的结果了。

- l2 Z" v' @5 D这个时候还是要选择休息一下的,这样就可以减少损失了
回复 支持 反对

使用道具 举报

55

主题

3万

回帖

2014

金币

钻石用户

积分
118231

万时之王老会员勤奋勋章交易勋章光影行者

发表于 2025-5-23 06:20 | 显示全部楼层
一点点水钱也是很无奈了,这个真的是没有办法了,难搞的啦, 郁闷的了!
回复 支持 反对

使用道具 举报

55

主题

3万

回帖

2014

金币

钻石用户

积分
118231

万时之王老会员勤奋勋章交易勋章光影行者

发表于 2025-5-23 06:20 | 显示全部楼层
cwx1994 发表于 2025-5-23 06:08
! W% w' Q# n: K$ k- M* O9 U9 c1 q这个时候还是要选择休息一下的,这样就可以减少损失了
+ x( k$ M9 ~  l7 J& Y! F
必须了,反正自己把握,合理的安排也是很关键了,不能乱来啊,都是自己的辛苦钱的!
回复 支持 反对

使用道具 举报

55

主题

3万

回帖

2014

金币

钻石用户

积分
118231

万时之王老会员勤奋勋章交易勋章光影行者

发表于 2025-5-23 06:21 | 显示全部楼层
猴哥打野 发表于 2025-5-23 05:40
( k8 e2 n8 [/ s6 }1 k1 @/ |持之以恒也是有必要的啦,我们一定要好好的努力加油的啦
: |1 _/ J  l9 Y) y# |; r  X
确实是很有道理,但是很多时候做不到了,这个也是一个问题的呢,淡定吧!
回复 支持 反对

使用道具 举报

您需要登录后才可以回帖 登录 | 立即注册

本版积分规则

广告合作|评测有奖|福利汇|论坛简介|钱包合集|手机版|小黑屋|Archiver|彩票开奖|海燕论坛

快速回复 返回顶部 返回列表