找回密码
 立即注册
澳门威尼斯人
U8
U18
海燕招商
A
蓝盾
e世博
islot.
申博亚洲
澳门银河
B
开云
腾博会
德信
C级广告商
吉祥坊
华体会
查看: 12347|回复: 12

[足球推荐] 2025年7月18日03:00 女欧洲杯 瑞典女足VS英格兰女足

 火.. [复制链接]

229

主题

3470

回帖

465

金币

银牌会员

积分
10770

老会员交易勋章

发表于 2025-7-17 17:40 | 显示全部楼层 |阅读模式

马上注册,结交更多好友,享用更多功能,让你轻松玩转社区。

您需要 登录 才可以下载或查看,没有账号?立即注册

×
推荐:小2.5
北京时间20257180300 将迎来女欧洲杯的一场比赛,瑞典女足迎战英格兰女足, 随着小组赛出线,本场比赛直接是一场定胜负的淘汰赛,还是比较关键的。
1-1.png
积分分析
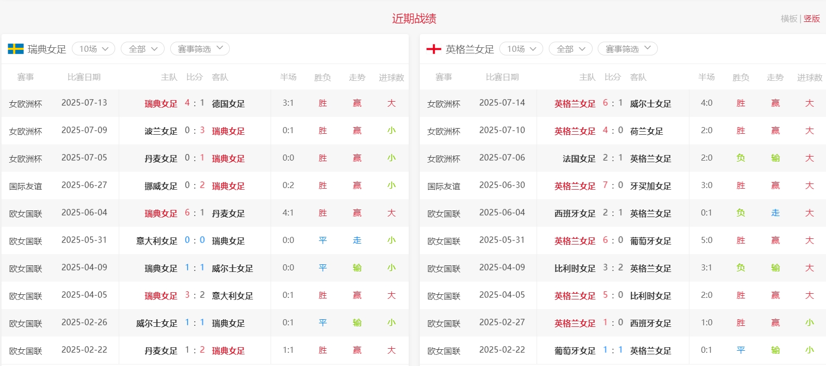
小组赛的比赛,瑞典女足取得了300负的战绩,小组第一强势出现,并且3场比赛进8球仅丢1球。英格兰女足倒是只取得了2负的战绩,小组第二战绩出现,不过实力还是略高一筹。
1-2.png
战绩分析:
两队历史交手记录,瑞典女足面对英格兰女足近十场比赛取得了343负的战绩,基本上是平分秋色。近十场比赛瑞典女足取得了730负的战绩,状态比较不错。英格兰女足近十场比赛取得了613负的还是展示出来不俗的状态.
1-3.png 1-4.png
盘口分析:
瑞典女足小组赛全胜强势出现,反倒是英格兰女足输了一场,本场比赛交手比较关键,从实力上看英格兰女足或许更胜一筹,不过胜负很难预料,不妨支持小球打出。
推荐:小2.5

: l. v# r4 h# b# u+ |
回复

使用道具 举报

0

主题

9812

回帖

4749

金币

金牌会员

积分
31022

老会员

发表于 2025-7-17 18:26 | 显示全部楼层
女足的比赛,小球确实是有不少的,希望这一场也是能够红起来的。
回复 支持 反对

使用道具 举报

41

主题

6434

回帖

2129

金币

银牌会员

积分
16074

老会员

发表于 2025-7-17 18:51 | 显示全部楼层
欧国女杯比赛,英格兰女足防守不错的,瑞典女足也是差不多的,因此买小球肯定是不错的选择
回复 支持 反对

使用道具 举报

628

主题

7万

回帖

3万

金币

海燕硕士

积分
254489

老会员精华勋章美女勋章勤奋勋章交易勋章光影行者万时之王魅力达人

发表于 2025-7-18 07:00 | 显示全部楼层
这场是大球出来了,2--2的比分啊,我是喜欢下注大球,你这场黑掉了
回复 支持 反对

使用道具 举报

3694

主题

7万

回帖

4759

金币

海燕硕士

积分
216676

万时之王老会员勤奋勋章交易勋章

发表于 2025-7-18 07:02 | 显示全部楼层
2-2打出来一个大球的结果了,楼主的推荐小球输掉了
回复 支持 反对

使用道具 举报

3694

主题

7万

回帖

4759

金币

海燕硕士

积分
216676

万时之王老会员勤奋勋章交易勋章

发表于 2025-7-18 07:03 | 显示全部楼层
七秒记忆 发表于 2025-7-18 07:00
. l/ B# i$ P1 H. \+ z7 B# b这场是大球出来了,2--2的比分啊,我是喜欢下注大球,你这场黑掉了
. C3 [+ j) m2 k- ]$ S: r# O
判断错误输掉太可惜了啊,下次继续努力猜对了就可以啦
回复 支持 反对

使用道具 举报

1410

主题

5万

回帖

2163

金币

钻石用户

积分
142705

万时之王老会员勤奋勋章交易勋章

发表于 2025-7-18 17:46 | 显示全部楼层
瑞典女足2-2英格兰女足楼主的小球也是遗憾的挂壁了 安慰一下楼主的啊
回复 支持 反对

使用道具 举报

1410

主题

5万

回帖

2163

金币

钻石用户

积分
142705

万时之王老会员勤奋勋章交易勋章

发表于 2025-7-18 17:46 | 显示全部楼层
天空之城 发表于 2025-7-17 18:518 q0 j0 T2 Z! p. @: \
欧国女杯比赛,英格兰女足防守不错的,瑞典女足也是差不多的,因此买小球肯定是不错的选择 ...

1 H: P4 T* ^/ I! V瑞典女足和英格兰女足攻击力是不错的 楼主这次去小球也是很危险的啊
回复 支持 反对

使用道具 举报

1410

主题

5万

回帖

2163

金币

钻石用户

积分
142705

万时之王老会员勤奋勋章交易勋章

发表于 2025-7-18 17:47 | 显示全部楼层
你说的都对 发表于 2025-7-17 18:26
' @* N' I+ W* o5 w8 D女足的比赛,小球确实是有不少的,希望这一场也是能够红起来的。
) f/ i3 n. r& Y! r; C
女足的比赛大球也是很多的 这次还是需要大家认真的研究啊
回复 支持 反对

使用道具 举报

1410

主题

5万

回帖

2163

金币

钻石用户

积分
142705

万时之王老会员勤奋勋章交易勋章

发表于 2025-7-18 17:47 | 显示全部楼层
dollar 发表于 2025-7-18 07:02; D# D6 k! r1 h  R7 Y+ y7 K
2-2打出来一个大球的结果了,楼主的推荐小球输掉了

. h' I# G( ~/ e$ D  N楼主的推荐也不是万能的 偶尔输一场也是非常正常的事情啊
回复 支持 反对

使用道具 举报

2618

主题

5万

回帖

6740

金币

钻石用户

积分
177380

万时之王老会员精华勋章勤奋勋章交易勋章

发表于 2025-7-19 10:16 来自手机 | 显示全部楼层
allin 发表于 2025-7-18 17:46
5 o$ s9 `$ Q: _1 G5 `5 W1 K, m2 L( Q瑞典女足2-2英格兰女足楼主的小球也是遗憾的挂壁了 安慰一下楼主的啊

  C) p, t1 J6 s3 h. |这场球比赛结果2:2,全场进了4个球,楼主推荐小2.5球输了,没办法
回复 支持 反对

使用道具 举报

2618

主题

5万

回帖

6740

金币

钻石用户

积分
177380

万时之王老会员精华勋章勤奋勋章交易勋章

发表于 2025-7-19 10:17 来自手机 | 显示全部楼层
allin 发表于 2025-7-18 17:47
: k8 A: l; e, G8 [9 P8 _楼主的推荐也不是万能的 偶尔输一场也是非常正常的事情啊
) v, }6 i4 e* R$ U* V5 J
球赛有输有赢,楼主这次推荐没有成功也是正常的,希望下次能够顺利收米
回复 支持 反对

使用道具 举报

2618

主题

5万

回帖

6740

金币

钻石用户

积分
177380

万时之王老会员精华勋章勤奋勋章交易勋章

发表于 2025-7-19 10:18 来自手机 | 显示全部楼层
dollar 发表于 2025-7-18 07:02
( o6 B' R$ x& t$ g* f# T2-2打出来一个大球的结果了,楼主的推荐小球输掉了

* K$ B: p( u5 d* l/ M这场球楼主推荐小2.5球的盘口,最后全场4个进球,大球的结果
回复 支持 反对

使用道具 举报

您需要登录后才可以回帖 登录 | 立即注册

本版积分规则

广告合作|福利汇|论坛简介|钱包教程|手机版|小黑屋|Archiver|海燕论坛

快速回复 返回顶部 返回列表