找回密码
 立即注册
澳门威尼斯人
U8
U18
海燕招商
A
蓝盾
e世博
islot.
申博亚洲
澳门银河
B
开云
腾博会
德信
C级广告商
吉祥坊
华体会
查看: 30248|回复: 63

[彩票] 【实战有奖】澳门威尼斯人 9月22日台彩宾果5单连打,千元资金小亏78元

[复制链接]

52

主题

2万

回帖

6829

金币

铂金用户

积分
82929

老会员光影行者

发表于 2025-9-22 16:31 | 显示全部楼层 |阅读模式

马上注册,结交更多好友,享用更多功能,让你轻松玩转社区。

您需要 登录 才可以下载或查看,没有账号?立即注册

×
资金往来和投注流水都放出来,输赢数据一清二楚。虽说整体亏损不大,但过程曲折,值得写个复盘总结,也方便坛友们交流经验。

, a' B! B0 W9 W
一、资金进出明细
$ j: H3 q; v, o% A+ x( \4 l7 y& x1 |
从账户明细图上可以看到,今天资金主要在 大厅与BBIN彩票 之间来回切换:
  `/ Z. k, r- i" s# O
15:50:从大厅转出 1050.15元 到 BBIN 彩票账户。
, m$ H8 \' V, d% X  V# d* v
16:23:BBIN 彩票结算后转回大厅 972.15元。

. `" q; C* ~' }) k6 e9 O
换句话说,我拿出1050元作为实战本金,经过一轮下注后,最终回到大厅的资金是972元,整体小亏78元。

8 `8 D' e" n) |' n  j
二、投注记录回顾

. @4 w; I2 q) k9 L
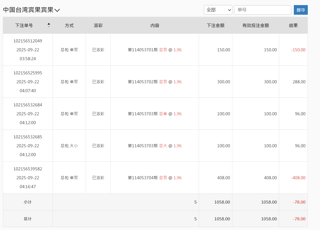
下注明细主要集中在 中国台湾宾果 的单双、大小玩法。时间段是凌晨 3:58 到 4:16,共下了 5 单,总投入 1058 元。

# F4 x5 d6 G7 a
具体如下:

( A2 L8 K- i" p  X0 e7 ]
第114053701期 总双 @1.96
投注150元,结果亏损,-150元。

4 A* ?* }" S( \8 A/ v; z% q
第114053702期 总双 @1.96
投注300元,中奖派彩288元,等于小赚-12元(实际上赔率稍有差异)。

5 P  ^1 M# t; n9 i8 @
第114053703期 总单 @1.96
投注100元,派彩96元,小赚-4元。

8 e' ?* ~- C6 w, T1 }
第114053703期 总大 @1.96
投注100元,派彩96元,同样微亏4元。

9 N# X% A( d$ n' U: F
第114053704期 总双 @1.96
投注408元,结果失利,-408元。

/ c3 `- T8 s+ m1 ^* e
小结:
  z8 V) S7 w% P! `& F( b$ U
总下注额 1058元

9 O  n9 o( k# M* e0 h! U
总结果 -78元

& s& g) h0 h9 o0 V) V% g
有效投注 1058元

7 `0 @; u: x/ u
虽然看似金额不大,但起伏明显,尤其最后一单408元的重注,直接把前面几手的努力全部打掉。

9 I" [" P9 e' M5 Q- S/ G* L) U
三、实战中的问题

1 [. O7 r6 [0 @2 Q7 y  `- [+ \
开局方向不稳
第一手就150元押“双”,结果直接亏,导致后续心态偏急。

& F. G: S' [, E* B1 v: C; U) i, A
加注策略混乱
第五手突然加到408元,这其实就是想一把翻本,结果正好遇上失利,亏损被放大。

% @/ w* ~8 i% h, `6 Y# E7 j4 `
赔率差异小
宾果的单双/大小,赔率都在1.96上下,长期拼下来很容易被水钱吃掉。今天虽然有几单“中”,但派彩比下注额略低,看起来是赢,其实也是亏。

2 ?- G1 h* ~( s' x9 k  z
四、经验总结
' a  r) M) Y3 b* s8 e- c  j- {- W
不要冲动加注
今天最致命的就是最后一手408元。前面都是百元级别,突然放大到四百,结果输了直接吃掉全部利润,得不偿失。
9 _/ l8 {* l/ G
合理规划资金
1050元本金,本可以拆分成十几手小注慢慢打,把波动摊平。但因为急于回血,结果越陷越深。

+ V2 _& P6 L& _& C0 L( A4 W
赔率细节要注意
1.96看似接近2,其实长期下来是巨大的差别。如果打法不精准,边际损失会被放大。
6 {6 v, n! u6 e, R2 Q6 Q0 [
控制节奏
今天的下注时间都集中在20分钟内,连下5手,几乎没停顿。其实完全可以隔几期观察走势,而不是短时间硬刚。

" T% M, D3 T) A" O, I3 E
五、结语
" L1 G$ M+ P2 b2 l: d3 e% @- E9 i
这次实战虽然只亏了78元,但过程暴露了很多问题:冲动、乱加注、没设止损。要不是最后一手重注失利,今天其实还能保本。

/ f2 P3 y8 a  h$ H# |
以后计划改进打法:

% T0 J2 z& n8 ^% J+ o  q3 v4 c7 \
每手控制在100-200元,不随意放大;
) b7 r5 f' p( b* [! J) k$ `! H
设置止损点,比如亏损超过300元就收手;
) U; k, m' K7 ^+ q0 F7 L$ L
拉长观察时间,不必每期都上。
5 w& w+ n! L8 a% Z$ V( \
兄弟们,你们在玩台湾宾果的时候,一般是倍投翻身,还是小注慢磨?欢迎在楼下交流思路,互相借鉴下经验。
QQ20250922-162509.png QQ20250922-162336.png
$ c% G, p5 N& m% |' O9 ~
回复

使用道具 举报

31

主题

6776

回帖

703

金币

金牌会员

积分
20815

老会员光影行者

发表于 2025-9-22 16:54 | 显示全部楼层
运气很一般呀,大注码没有中奖成功,确实非常可惜的
回复 支持 反对

使用道具 举报

380

主题

1563

回帖

2696

金币

铜牌用户

积分
9646

老会员交易勋章

发表于 2025-9-22 22:03 | 显示全部楼层
好在输的不多 慢慢积累经验 争取一次赢个大的啊!
回复 支持 反对

使用道具 举报

62

主题

4万

回帖

1420

金币

钻石用户

积分
124171

万时之王老会员勤奋勋章交易勋章光影行者

发表于 2025-9-23 06:41 | 显示全部楼层
遗憾的结果了,也是没有办法了,亏损了一天的 伙食费也是很无奈的了难搞的!
回复 支持 反对

使用道具 举报

62

主题

4万

回帖

1420

金币

钻石用户

积分
124171

万时之王老会员勤奋勋章交易勋章光影行者

发表于 2025-9-23 06:41 | 显示全部楼层
sq1188 发表于 2025-9-22 22:03% g- Z- j: u7 _! v/ G, i
好在输的不多 慢慢积累经验 争取一次赢个大的啊!
7 ^/ a; H& C# t* D6 B' D6 t7 X
确实是,慢慢的来,总会有盈利的时候了,一定要好好的把握一下加油多赚钱吧!
回复 支持 反对

使用道具 举报

62

主题

4万

回帖

1420

金币

钻石用户

积分
124171

万时之王老会员勤奋勋章交易勋章光影行者

发表于 2025-9-23 06:41 | 显示全部楼层
决战夕阳 发表于 2025-9-22 16:540 c6 v( l* T% y8 H7 m
运气很一般呀,大注码没有中奖成功,确实非常可惜的

7 ^0 c) ?# P) `7 f& s4 q0 x& I: ~; q确实是可惜了 ,也是没有办法了,所以太需要有个好运气的啊!
回复 支持 反对

使用道具 举报

1852

主题

6万

回帖

2684

金币

钻石用户

积分
176706

万时之王老会员勤奋勋章交易勋章

发表于 2025-9-23 07:25 | 显示全部楼层
决战夕阳 发表于 2025-9-22 16:54; f% W" K4 D; l- J" p4 z
运气很一般呀,大注码没有中奖成功,确实非常可惜的
/ j* T6 r3 i, L& ^2 _
这个结果是真的比较可惜的希望下一次是能够赢回来的吧
# M- f+ g6 w: n9 v) F; O3 b2 K
回复 支持 反对

使用道具 举报

1852

主题

6万

回帖

2684

金币

钻石用户

积分
176706

万时之王老会员勤奋勋章交易勋章

发表于 2025-9-23 07:25 | 显示全部楼层
奔四 发表于 2025-9-23 06:41
) O. L1 d5 {5 |/ b3 J/ Z; k确实是可惜了 ,也是没有办法了,所以太需要有个好运气的啊!
  |9 M! V. `- D6 q2 V1 ?
这个没有运气当然是不行的了运气不好一点办法都没有; C- T, }. L& D$ c
回复 支持 反对

使用道具 举报

1852

主题

6万

回帖

2684

金币

钻石用户

积分
176706

万时之王老会员勤奋勋章交易勋章

发表于 2025-9-23 07:25 | 显示全部楼层
这样的损失也是真的比较遗憾的希望下次能够打回来吧
& G  |; A  s* z# e0 M2 U& a
回复 支持 1 反对 0

使用道具 举报

2452

主题

8万

回帖

5206

金币

海燕硕士

积分
225117

老会员超级精华精华勋章美女勋章勤奋勋章交易勋章万时之王

发表于 2025-9-23 07:27 | 显示全部楼层
亏损了几十块钱也是因为运气不好我也能理解你的心情
回复 支持 反对

使用道具 举报

2452

主题

8万

回帖

5206

金币

海燕硕士

积分
225117

老会员超级精华精华勋章美女勋章勤奋勋章交易勋章万时之王

发表于 2025-9-23 07:28 | 显示全部楼层
yb454553 发表于 2025-9-23 07:25
- |% a6 d+ [/ o" u, |- S- N这样的损失也是真的比较遗憾的希望下次能够打回来吧
0 X* w) i& c# U7 B
这个损失已经出现了,也是自己的一个原因,不好玩的呀
回复 支持 反对

使用道具 举报

2452

主题

8万

回帖

5206

金币

海燕硕士

积分
225117

老会员超级精华精华勋章美女勋章勤奋勋章交易勋章万时之王

发表于 2025-9-23 07:28 | 显示全部楼层
yb454553 发表于 2025-9-23 07:25
% p7 M" _5 Q: t" b' Q这个没有运气当然是不行的了运气不好一点办法都没有
, R: u" g! z# P( R( U' _
运气不行就不要玩,不然亏损的也是自己吧
回复 支持 反对

使用道具 举报

2452

主题

8万

回帖

5206

金币

海燕硕士

积分
225117

老会员超级精华精华勋章美女勋章勤奋勋章交易勋章万时之王

发表于 2025-9-23 07:28 | 显示全部楼层
奔四 发表于 2025-9-23 06:41: [3 X. [, d  \  X) n
确实是可惜了 ,也是没有办法了,所以太需要有个好运气的啊!

; D4 ?, B1 L3 a8 `. K. Y: d这样子可惜的话就不要玩了,输的多了也是难受
回复 支持 反对

使用道具 举报

2452

主题

8万

回帖

5206

金币

海燕硕士

积分
225117

老会员超级精华精华勋章美女勋章勤奋勋章交易勋章万时之王

发表于 2025-9-23 07:28 | 显示全部楼层
奔四 发表于 2025-9-23 06:41- F- T6 g4 a) E0 L  Q/ j5 y) i& f
确实是,慢慢的来,总会有盈利的时候了,一定要好好的把握一下加油多赚钱吧!  ...
& K( y/ n- I2 E' |, [( ^$ Z" x
问题是不知道什么时候盈利,也只是自己的一个猜测
回复 支持 反对

使用道具 举报

2452

主题

8万

回帖

5206

金币

海燕硕士

积分
225117

老会员超级精华精华勋章美女勋章勤奋勋章交易勋章万时之王

发表于 2025-9-23 07:28 | 显示全部楼层
sq1188 发表于 2025-9-22 22:03
4 _% v8 D2 a5 [好在输的不多 慢慢积累经验 争取一次赢个大的啊!

3 f6 _9 l  V9 m1 b' d输的不多,就当是一个教训吧,每次我还是小心一点
回复 支持 1 反对 0

使用道具 举报

您需要登录后才可以回帖 登录 | 立即注册

本版积分规则

广告合作|福利汇|论坛简介|钱包教程|手机版|小黑屋|Archiver|海燕论坛

快速回复 返回顶部 返回列表