找回密码
 立即注册
澳门威尼斯人
U8
U18
海燕招商
A
蓝盾
e世博
islot.
申博亚洲
澳门银河
B
开云
腾博会
德信
C级广告商
吉祥坊
华体会
查看: 26406|回复: 74

[彩票] 【实战有奖】威尼斯人台湾宾果连挂后稳收,亏损2450止步

[复制链接]

91

主题

2万

回帖

7557

金币

铂金用户

积分
81363

老会员交易勋章魅力达人

发表于 2025-10-6 16:17 | 显示全部楼层 |阅读模式

马上注册,结交更多好友,享用更多功能,让你轻松玩转社区。

您需要 登录 才可以下载或查看,没有账号?立即注册

×
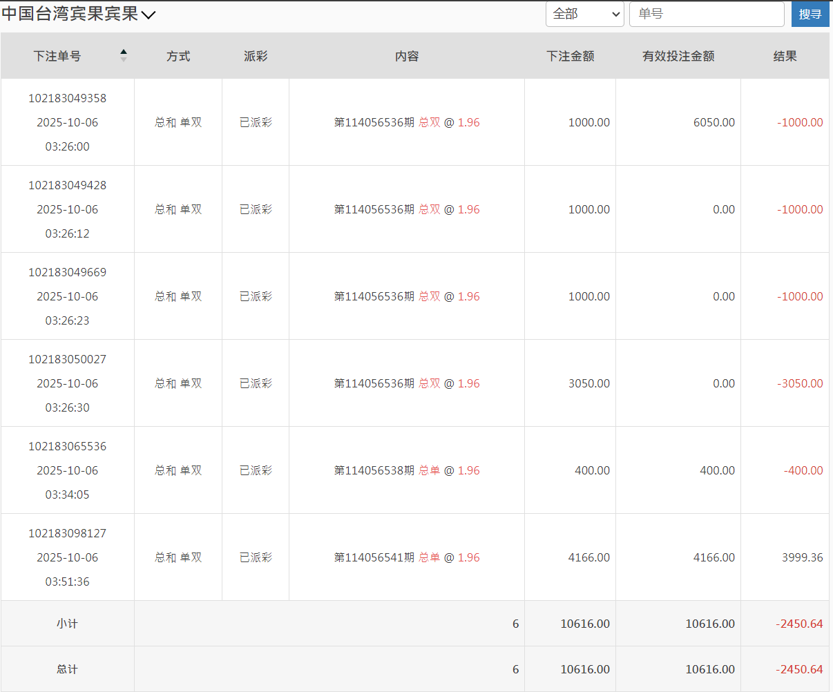
今天下午打了台湾宾果这一轮,整体过程挺曲折,但也算控制住了节奏。大概从下午三点左右开始进场,当时看走势总和“双”连开几期,手痒了,于是轻仓试单。原本打算随便玩玩,结果越看越不对劲,单双频繁切换,让人有点摸不清节奏。& @% Y) S  Y3 h- a! w

% @+ l" Q6 u5 ^7 n  R: Z. ~7 A这轮总共下了六单,前几把基本都在试探走势。结果连续几期都反着来,尤其是那笔3050的“总双”,被直接吃掉,账面一口气红到三千多。那一瞬间心态确实有点晃,手差点又去补仓。后来想到之前吃亏的经验,强行让自己停手,看完那期结果就去洗了个脸。, k6 x; E+ [! i# A8 I8 S7 b+ b
1 Y; X- a# Z" R0 A7 K& d
回来后重新看走势图,发现节奏有点回稳,于是再上两把“总单”试水。最后一单我加到4166,打的第114056541期,终于中回来了3999.36,这口气算是稳了。整盘下来,亏了2450左右,折合人民币不到两千。/ u# Z8 b+ J$ y8 Q1 x# e
- G( j& R0 D/ b3 @6 Z# {
账面上虽然是负的,但我个人觉得这轮打得比前几次更“成熟”——不是赢多少的问题,而是我终于没再乱追。这次BBIN那边转入了10616,转出回大厅时剩8165,虽然账面亏损,但过程有节制、心态稳,算是一次小考合格。
' ~% u( T3 j) S  k/ l/ O. f( ~) p0 h7 z( C  `
过去我常常一看挂单就想加码“赢回来”,结果反而输更惨。现在我学会了一件事:赢钱靠机会,止损靠自律。只要不被情绪带走,长期来看反而能少损多赢。, u& ]3 _+ O$ a& _" O0 K
& e; x% [& [" p$ P& I& k3 m
另外,这轮台湾宾果的走势挺诡异的,总和单双跳得快,没有出现连续7期以上的连号。下午那段时间尤其乱,建议后面玩这盘口的兄弟们注意节奏,不要被短线结果误导。可以像我这样——前几期用小注探路,等走势方向稳定后再加码。/ {) x# b. e+ N9 A; @
% [& G# b9 z& Q% z8 `
这次我还特地看了下注明细,总金额10616,有效投注全打满,亏损-2450.64。虽然是红的,但我反而挺高兴,因为这说明我守住了底线:没追加、没爆仓。
3 g1 y% l8 \9 C; A
3 f6 B6 `4 G; l) m( q最后总结一句:
! a( n6 n0 N' o2 j- C/ _输钱不可怕,乱输才可怕;稳得住,才是真正的赢。9 h. U! R% q/ v4 L6 K
( P5 a' J0 d9 Z4 S; W) z
这两天论坛不少人也在分享台湾盘的节奏,我的经验是——宁可打慢,也不要乱节奏。未来几天我会继续观察走势,等连号或规律性区间出来,再考虑加仓。今天就到这,休息一会,晚上再看情况。3 i9 S0 `$ i; U% |7 o
! ]/ c9 P: {1 w
QQ20251006-160203.png QQ20251006-160102.png
% _& [2 i. D6 D" l! E- X# c' s# G; s9 q8 \1 Z

. L+ B- o+ k; J. L, F5 x
回复

使用道具 举报

1

主题

4994

回帖

4198

金币

金牌会员

积分
23389

老会员

发表于 2025-10-6 16:22 | 显示全部楼层
楼主亏损了还是要止损,回血了一大半还是挺不错了
回复 支持 反对

使用道具 举报

197

主题

6859

回帖

148

金币

银牌会员

积分
13995

老会员交易勋章

发表于 2025-10-6 17:56 | 显示全部楼层
你还玩这个啊,我是真没玩过这类彩票,是彩票没错吧,止损做到位就好
回复 支持 反对

使用道具 举报

8

主题

2万

回帖

1万

金币

铂金用户

积分
82237

光影行者

发表于 2025-10-6 19:37 | 显示全部楼层
3050那把真够呛,能忍住不补仓已经赢一半,节奏乱时洗脸是个好招
回复 支持 反对

使用道具 举报

3400

主题

4万

回帖

4126

金币

钻石用户

积分
116733

万时之王老会员勤奋勋章交易勋章

发表于 2025-10-6 19:48 | 显示全部楼层
老哥还是低调点吧, 亏损2450, 也是输太多了, 还是要及时收手,真不敢继续了
回复 支持 反对

使用道具 举报

3400

主题

4万

回帖

4126

金币

钻石用户

积分
116733

万时之王老会员勤奋勋章交易勋章

发表于 2025-10-6 19:49 | 显示全部楼层
蔬菜沙拉 发表于 2025-10-6 19:37
6 ]( r5 B. m& C$ K* b  `. B4 E4 ]3050那把真够呛,能忍住不补仓已经赢一半,节奏乱时洗脸是个好招

' x9 h. b0 U3 |$ `2 c玩菠菜还是量力而行吧, 别玩太大了, 输太多了, 也是很影响心情了。
回复 支持 反对

使用道具 举报

3400

主题

4万

回帖

4126

金币

钻石用户

积分
116733

万时之王老会员勤奋勋章交易勋章

发表于 2025-10-6 19:49 | 显示全部楼层
二电厂哥 发表于 2025-10-6 17:56
( U' B6 c6 A/ ^& d你还玩这个啊,我是真没玩过这类彩票,是彩票没错吧,止损做到位就好
# U& D# c6 z: p0 \: A
亏损了2450也是输太多了, 这钱能干很多事的了啊, 也是很遗憾了。
回复 支持 反对

使用道具 举报

3400

主题

4万

回帖

4126

金币

钻石用户

积分
116733

万时之王老会员勤奋勋章交易勋章

发表于 2025-10-6 19:50 | 显示全部楼层
shunlifeiup 发表于 2025-10-6 16:22
0 e! c! f& {4 O$ K% K! n6 O楼主亏损了还是要止损,回血了一大半还是挺不错了
0 V$ H4 t: s) b+ f. m9 ~+ U
损失惨重了呀, 输了这么多, 想回血都是很困难了啊, 还是休息冷静一下吧。
回复 支持 反对

使用道具 举报

380

主题

1563

回帖

2696

金币

铜牌用户

积分
9646

老会员交易勋章

发表于 2025-10-6 21:07 | 显示全部楼层
能够及时做到止损啊 还是很不容易的   及时调整吧!
回复 支持 反对

使用道具 举报

52

主题

2万

回帖

6636

金币

铂金用户

积分
82249

老会员光影行者

发表于 2025-10-7 02:34 | 显示全部楼层
别急着追,理性把握,稳住节奏,总会有赚钱的时候,节制至关重要
回复 支持 反对

使用道具 举报

52

主题

2万

回帖

6636

金币

铂金用户

积分
82249

老会员光影行者

发表于 2025-10-7 02:34 | 显示全部楼层
蔬菜沙拉 发表于 2025-10-6 19:37
; w" ?& c- M( ~  C' ^" x/ a; t8 ?3050那把真够呛,能忍住不补仓已经赢一半,节奏乱时洗脸是个好招

/ p; k  z- |/ L" w0 t2 D. S3050那把确实有点狼狈,不过威尼斯人台湾宾果稳住节奏,亏损2450也算是及时止损
回复 支持 反对

使用道具 举报

2452

主题

8万

回帖

5106

金币

海燕硕士

积分
224917

老会员超级精华精华勋章美女勋章勤奋勋章交易勋章万时之王

发表于 2025-10-7 05:46 | 显示全部楼层
输掉了2000多块能够止损离开也是比较理智的一个人吧
回复 支持 反对

使用道具 举报

2452

主题

8万

回帖

5106

金币

海燕硕士

积分
224917

老会员超级精华精华勋章美女勋章勤奋勋章交易勋章万时之王

发表于 2025-10-7 05:46 | 显示全部楼层
whywhy 发表于 2025-10-7 02:34* S' }  q2 {. Q* S6 U
3050那把确实有点狼狈,不过威尼斯人台湾宾果稳住节奏,亏损2450也算是及时止损 ...
+ J9 X! P0 N$ N* |4 o9 u
反正自己的节奏要把握好,不然输的就是自己的钱
回复 支持 反对

使用道具 举报

2452

主题

8万

回帖

5106

金币

海燕硕士

积分
224917

老会员超级精华精华勋章美女勋章勤奋勋章交易勋章万时之王

发表于 2025-10-7 05:46 | 显示全部楼层
whywhy 发表于 2025-10-7 02:34
7 }" y0 G& m- ~2 [* @! V! V$ g别急着追,理性把握,稳住节奏,总会有赚钱的时候,节制至关重要
) ~& \: F; @9 D2 T
这个节奏导致的亏损也是没有办法的事,毕竟输了这么多
回复 支持 反对

使用道具 举报

2452

主题

8万

回帖

5106

金币

海燕硕士

积分
224917

老会员超级精华精华勋章美女勋章勤奋勋章交易勋章万时之王

发表于 2025-10-7 05:46 | 显示全部楼层
莫扎特06 发表于 2025-10-6 19:49
; t( r. {+ w. X2 m$ x1 l, c亏损了2450也是输太多了, 这钱能干很多事的了啊, 也是很遗憾了。

' ?4 x' F9 f  N( c  I. R输的太多也是要想办法把它搞回来,不然也是难受
回复 支持 反对

使用道具 举报

您需要登录后才可以回帖 登录 | 立即注册

本版积分规则

广告合作|福利汇|论坛简介|钱包教程|手机版|小黑屋|Archiver|海燕论坛

快速回复 返回顶部 返回列表