找回密码
 立即注册
澳门威尼斯人
U8
U18
海燕招商
A
蓝盾
e世博
islot.
申博亚洲
澳门银河
B
腾博会
德信
C级广告商
吉祥坊
查看: 2995|回复: 89

[彩票] 比特彩票走势不定艰难收904元

[复制链接]

88

主题

2838

回帖

1182

金币

铜牌用户

积分
9709

老会员

发表于 2026-2-28 19:42 | 显示全部楼层 |阅读模式

马上注册,结交更多好友,享用更多功能,让你轻松玩转社区。

您需要 登录 才可以下载或查看,没有账号?立即注册

×
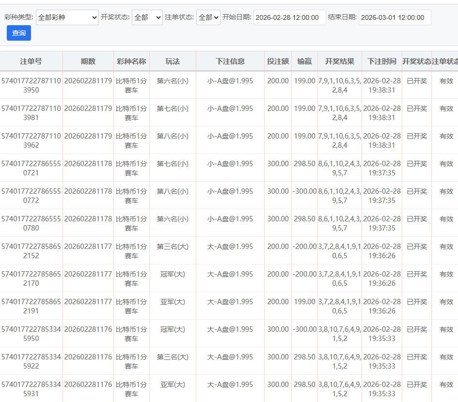
晚上继续着 70-150-200-300-500的战略彩票下注 三定位两面玩法,输了一直往上推到500赢后则从赢时的注码往下推到最低70的位置,投注9000多才收904元;3 W' S+ _3 V/ N

. ~3 v% F. O; ~2 x" R5 Q1 O
+ i( G) a7 r) W" R 2.png 3.png 1.png ) z3 Q* ^( r8 V" v+ _8 G0 v$ h& W

评分

参与人数 1金币 +8 收起 理由
海燕RG + 8 实战分享

查看全部评分

回复

使用道具 举报

3508

主题

2万

回帖

1万

金币

版主

积分
96024

优秀版主老会员版主勋章超级精华

发表于 2026-2-28 19:50 | 显示全部楼层
主要还是要看胜率,否则很难扛得住了
回复 支持 反对

使用道具 举报

231

主题

1万

回帖

3900

金币

千足金牌会员

积分
48632

老会员

发表于 2026-2-28 20:13 | 显示全部楼层
这次幸运的,下次就得要再稳点才行呀
回复 支持 反对

使用道具 举报

1459

主题

1万

回帖

1万

金币

千足金牌会员

积分
59446

老会员财富勋章精华勋章交易勋章热心会员魅力达人

发表于 2026-2-28 20:29 | 显示全部楼层
这样的盈利已经很不错了
回复 支持 反对

使用道具 举报

9

主题

2万

回帖

7127

金币

铂金用户

积分
86134

光影行者

发表于 2026-2-28 20:36 | 显示全部楼层
这节奏太折磨人了,推注推到500才回血,9000砸下去就捞900多,心疼钱包
回复 支持 反对

使用道具 举报

9

主题

2万

回帖

7127

金币

铂金用户

积分
86134

光影行者

发表于 2026-2-28 20:36 | 显示全部楼层
笑看人生 发表于 2026-2-28 20:29) u: y  j' C2 f  _+ v
这样的盈利已经很不错了
+ O/ W  T2 {  I0 F% l" n7 p/ m* ^
能稳住900+已经算硬核了,这走势能抠出来真不容易
回复 支持 反对

使用道具 举报

9

主题

2万

回帖

7127

金币

铂金用户

积分
86134

光影行者

发表于 2026-2-28 20:36 | 显示全部楼层
hy188820 发表于 2026-2-28 20:13
' [+ H7 e# k, a+ d5 u- D. z, F% c这次幸运的,下次就得要再稳点才行呀

9 s8 m/ |/ X$ c, c走势飘忽确实难搞,稳着来才能细水长流,下次别急着冲
回复 支持 反对

使用道具 举报

619

主题

1万

回帖

4396

金币

千足金牌会员

积分
41768

老会员

发表于 2026-2-28 23:27 | 显示全部楼层
如此丰厚的回报令人赞叹,这是楼主的实力
回复 支持 反对

使用道具 举报

619

主题

1万

回帖

4396

金币

千足金牌会员

积分
41768

老会员

发表于 2026-2-28 23:28 | 显示全部楼层
蔬菜沙拉 发表于 2026-2-28 20:369 ]& O" x) Y# G. L5 Z; T) e
走势飘忽确实难搞,稳着来才能细水长流,下次别急着冲
6 @- u( S7 h% X) Y7 h* r
7 o+ L4 z' @0 Y# e5 v$ I0 ~4 H6 w
能长期保持盈利状态就实属难得
回复 支持 反对

使用道具 举报

5

主题

1万

回帖

6209

金币

千足金牌会员

积分
51124
发表于 2026-3-1 02:25 | 显示全部楼层
这推注玩法投九千多才收九百出头,走势不定真够磨人的,这收益和投入比看着也挺闹心
回复 支持 反对

使用道具 举报

5

主题

1万

回帖

6209

金币

千足金牌会员

积分
51124
发表于 2026-3-1 02:26 | 显示全部楼层
一路前行 发表于 2026-2-28 23:284 V& T* [3 ~$ t4 i
能长期保持盈利状态就实属难得
! i! R- n  E# i1 q3 T& E
走势那么飘能长期稳着赚真不容易,这次收904也算是熬过来了,别贪稳着来就好
回复 支持 反对

使用道具 举报

1664

主题

8万

回帖

1万

金币

海燕硕士

积分
251232

万时之王老会员精华勋章勤奋勋章交易勋章光影行者

发表于 2026-3-1 05:37 | 显示全部楼层
可以赢这么多钱也是非常厉害的了。
回复 支持 1 反对 0

使用道具 举报

1664

主题

8万

回帖

1万

金币

海燕硕士

积分
251232

万时之王老会员精华勋章勤奋勋章交易勋章光影行者

发表于 2026-3-1 05:37 | 显示全部楼层
蔬菜沙拉 发表于 2026-2-28 20:36
3 Y$ `; b. s/ ]- l走势飘忽确实难搞,稳着来才能细水长流,下次别急着冲
! @1 a- a7 d& Z3 q8 E7 E- P( F6 h
希望是可以能够保持住这样的好运气吧
回复 支持 反对

使用道具 举报

1664

主题

8万

回帖

1万

金币

海燕硕士

积分
251232

万时之王老会员精华勋章勤奋勋章交易勋章光影行者

发表于 2026-3-1 05:37 | 显示全部楼层
一路前行 发表于 2026-2-28 23:276 e( U7 c" Q5 d0 e
如此丰厚的回报令人赞叹,这是楼主的实力
6 |/ X! a. _! s8 a# e
楼主确实是非常有实力的玩家了呢。
回复 支持 反对

使用道具 举报

1664

主题

8万

回帖

1万

金币

海燕硕士

积分
251232

万时之王老会员精华勋章勤奋勋章交易勋章光影行者

发表于 2026-3-1 05:37 | 显示全部楼层
一路前行 发表于 2026-2-28 23:28
$ l( a7 _2 ~8 W- \* q4 S能长期保持盈利状态就实属难得

0 }  _2 G5 ]$ u# _5 ^6 {这个确实是非常难得的事情了呢。
回复 支持 反对

使用道具 举报

您需要登录后才可以回帖 登录 | 立即注册

本版积分规则

广告合作|福利汇|论坛简介|钱包教程|手机版|小黑屋|Archiver|海燕论坛

快速回复 返回顶部 返回列表